Product Summary
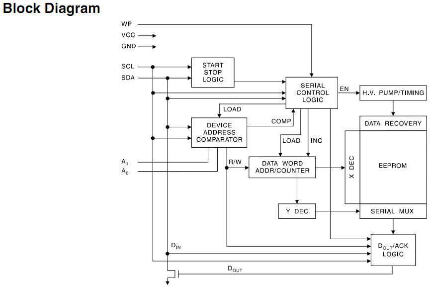
The AT24C512-10PU-2.7 is a 2-wire Serial EEPROM. The AT24C512-10PU-2.7 provides 524,288 bits of serial electrically erasable and programmable read only memory (EEPROM) organized as 65,536 words of 8 bits each. The device’s cascadable feature allows up to 4 devices to share a common 2-wire bus. The AT24C512-10PU-2.7 is optimized for use in many industrial and commercial applications where low-power and low-voltage operation are essential. The AT24C512-10PU-2.7 is available in space-saving 8-pin PDIP, 20-pin JEDEC SOIC, 8-pin Leadless Array (LAP), and 8-ball dBGA packages.
Parametrics
AT24C512-10PU-2.7 absolute maximum ratings: (1)Operating Temperature: -55 to +125℃; (2)Storage Temperature: -65 to +150℃; (3)Voltage on Any Pin with Respect to Ground: -1.0V to +7.0V; (4)Maximum Operating Voltage: 6.25V; (5)DC Output Current: 5.0 mA.
Features
AT24C512-10PU-2.7 features: (1)Low-voltage and Standard-voltage Operation; (2)Internally Organized 65,536 × 8; (3)2-wire Serial Interface; (4)Schmitt Triggers, Filtered Inputs for Noise Suppression; (5)Bidirectional Data Transfer Protocol; (6)1 MHz (5V), 400 kHz (2.7V) and 100 kHz (1.8V) Compatibility; (7)Write Protect Pin for Hardware and Software Data Protection; (8)128-byte Page Write Mode (Partial Page Writes Allowed); (9)Self-timed Write Cycle (5 ms Typical); (10)High Reliability; (11)Automotive Grade and Extended Temperature Devices Available; (12)8-pin PDIP and 20-pin JEDEC SOIC, 8-pin LAP, and 8-ball dBGATM Packages.
Diagrams

| Image | Part No | Mfg | Description | ![]() |
Pricing (USD) |
Quantity | ||||
|---|---|---|---|---|---|---|---|---|---|---|
![]() |
![]() AT24C512-10PU-2.7 |
![]() Atmel |
![]() EEPROM 512K 2-WIRE BUS |
![]() Data Sheet |
![]() Negotiable |
|
||||
| Image | Part No | Mfg | Description | ![]() |
Pricing (USD) |
Quantity | ||||
![]() |
![]() AT24C |
![]() Other |
![]() |
![]() Data Sheet |
![]() Negotiable |
|
||||
![]() |
![]() AT24C01 |
![]() Other |
![]() |
![]() Data Sheet |
![]() Negotiable |
|
||||
![]() |
![]() AT24C01-10PC |
![]() Atmel |
![]() IC SEEPROM 1K 8DIP |
![]() Data Sheet |
![]() Negotiable |
|
||||
![]() |
![]() AT24C01-10PC-1.8 |
![]() Atmel |
![]() IC SEEPROM 1K 1.8V 8DIP |
![]() Data Sheet |
![]() Negotiable |
|
||||
![]() |
![]() AT24C01-10PC-2.5 |
![]() Atmel |
![]() IC SEEPROM 1K 2.5V 8DIP |
![]() Data Sheet |
![]() Negotiable |
|
||||
![]() |
![]() AT24C01-10PC-2.7 |
![]() Atmel |
![]() IC SEEPROM 1K 2.7V 8DIP |
![]() Data Sheet |
![]() Negotiable |
|
||||
(China (Mainland))











