Product Summary
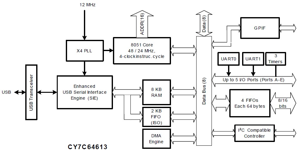
The CY7C64613-128NC is an EZ-USB FX USB Microcontroller. The CY7C64613-128NC is Cypress Semiconductors second-generation full-speed USB family. FX products offer higher performance and a higher level of integration than first-generation EZ-USB products. FX builds on the EZ-USB feature set, including an intelligent USB core, enhanced 8051, 8-Kbyte RAM, and high-performance I/O while maintaining upward code compatibility. The CY7C64613-128NCenhances the EZ-USB family by providing faster operation and more ways to transfer data into and out of the chip at very high speed.
Parametrics
CY7C64613-128NC absolute maximum ratings: (1)Storage Temperature: –65℃ to +150℃; (2)Ambient Temperature with Power Supplied: 0℃ to +70℃; (3)Supply Voltage on VCC relative to GND: –0.5V to +4.0V; (4)DC Input Voltage: –0.5V to 5.25V; (5)DC Voltage Applied to Outputs in High Z State: –0.5V to VCC + 0.5V; (6)Power Dissipation: 500 mW; (7)Static Discharge Voltage: > 2 kV; (8)Latch-up Current: > 200 mA; (9)Max Output Sink Current: 10 mA.
Features
CY7C64613-128NC features: (1)Single-chip integrated USB Transceiver, Serial Interface Engine (SIE), and enhanced 8051 microprocessor; (2)Certified compliant with USB Specifications 1.1 and 2.0 (full-speed device); (3)Software operation: 8051 runs code from internal RAM or external RAM.; (4)14 Bulk/Interrupt endpoints, each with a maximum packet size of 64 bytes (per USB specification); (5)16 Isochronous endpoints, with 2 KB of buffer space (1 KB, double buffered)which may be divided among the 16 isochronous endpoints; (6)3.3V operation; (7)Smart SIE; (8)Vectored interrupt system expanded for USB, FIFO flags and DMA interrupts; (9)Separate buffers for SETUP and DATA portions of a CONTROL transfer.
Diagrams

| Image | Part No | Mfg | Description | ![]() |
Pricing (USD) |
Quantity | ||||||||||||
|---|---|---|---|---|---|---|---|---|---|---|---|---|---|---|---|---|---|---|
![]() |
![]() CY7C64613-128NC |
![]() |
![]() IC MCU USB EZ FX 8K RAM 128BQFP |
![]() Data Sheet |
![]() Negotiable |
|
||||||||||||
| Image | Part No | Mfg | Description | ![]() |
Pricing (USD) |
Quantity | ||||||||||||
![]() |
![]() CY7C006 |
![]() Other |
![]() |
![]() Data Sheet |
![]() Negotiable |
|
||||||||||||
![]() |
![]() CY7C006A |
![]() Other |
![]() |
![]() Data Sheet |
![]() Negotiable |
|
||||||||||||
![]() |
![]() CY7C006A-15AXC |
![]() Cypress Semiconductor |
![]() SRAM 5V 16Kx8 COM Dual Port SRAM |
![]() Data Sheet |
![]() Negotiable |
|
||||||||||||
![]() |
![]() CY7C006A-15AXCT |
![]() Cypress Semiconductor |
![]() SRAM 5V 16Kx8 COM Dual Port SRAM |
![]() Data Sheet |
![]() Negotiable |
|
||||||||||||
![]() |
![]() CY7C006A-20AC |
![]() |
![]() IC SRAM 16KX8 DUAL 64LQFP |
![]() Data Sheet |
![]() Negotiable |
|
||||||||||||
![]() |
![]() CY7C006A-20AXC |
![]() Cypress Semiconductor |
![]() SRAM 5V 16Kx8 COM Dual Port SRAM |
![]() Data Sheet |
![]()
|
|
||||||||||||
(China (Mainland))











