Product Summary
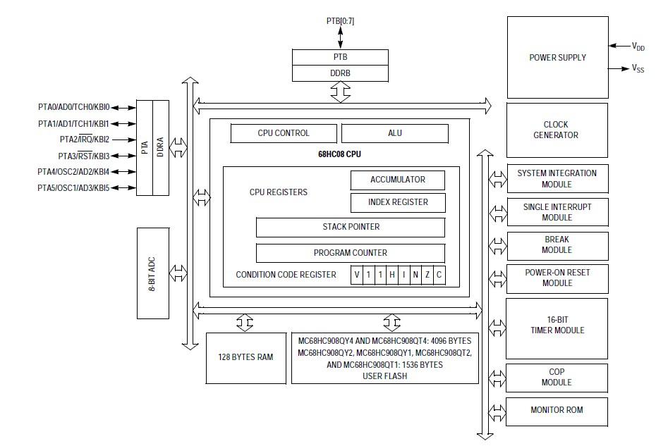
The MC68HC908QT1CDW is a low-cost, high performance 8-bit microcontroller unit(MCU). The MC68HC908QT1CDW is a Complex Instruction Set Computer (CISC) with a Von Neumann architecture. It uses the enhanced M68HC08 central processor unit (CPU08) and are available with a variety of modules, memory sizes and types, and package types.
Parametrics
MC68HC908QT1CDW absolute maximum ratings: (1)Supply voltage VDD: –0.3 to +6.0 V; (2)Input voltage VIN VSS: –0.3 to VDD +0.3 V; (3)Mode entry voltage, IRQ pin VTST VSS: –0.3 to +9.1 V; (4)Maximum current per pin excluding. PTA0–PTA5, VDD, and VSS I: ±15 mA; (5)Maximum current for pins: ±25 mA; (6)Storage temperature TSTG: –55 to +150 ℃; (7)Maximum current out of VSS IMVSS: 100 mA; (8)Maximum current into VDD IMVDD: 100 mA.
Features
MC68HC908QT1CDW features: (1)Two input capture/output compare channels. Rising-edge, falling-edge, or any-edge input capture trigger. Set, clear, or toggle output compare action; (2)Buffered and unbuffered pulse width modulation (PWM) signal generation; (3)Programmable TIM clock input with 7-frequency internal bus clock prescaler selection; (4)Free-running or modulo up-count operation; (5)Toggle any channel pin on overflow; (6)TIM counter stop and reset bits.
Diagrams

| Image | Part No | Mfg | Description | ![]() |
Pricing (USD) |
Quantity | ||||
|---|---|---|---|---|---|---|---|---|---|---|
![]() |
![]() MC68HC908QT1CDW |
![]() Freescale Semiconductor |
![]() 8-bit Microcontrollers (MCU) 8 Bit 8MHz |
![]() Data Sheet |
![]() Negotiable |
|
||||
| Image | Part No | Mfg | Description | ![]() |
Pricing (USD) |
Quantity | ||||
![]() |
![]() MC6800 |
![]() Other |
![]() |
![]() Data Sheet |
![]() Negotiable |
|
||||
![]() |
![]() MC6801 |
![]() Other |
![]() |
![]() Data Sheet |
![]() Negotiable |
|
||||
![]() |
![]() MC68020 |
![]() Other |
![]() |
![]() Data Sheet |
![]() Negotiable |
|
||||
![]() |
![]() MC68020CEH16E |
![]() Freescale Semiconductor |
![]() Microprocessors (MPU) 32-BIT MPU |
![]() Data Sheet |
![]() Negotiable |
|
||||
![]() |
![]() MC68020CEH25E |
![]() Freescale Semiconductor |
![]() Microprocessors (MPU) 32-BIT MPU |
![]() Data Sheet |
![]() Negotiable |
|
||||
![]() |
![]() MC68020CRC16E |
![]() Freescale Semiconductor |
![]() Microprocessors (MPU) 32-BIT MPU |
![]() Data Sheet |
![]() Negotiable |
|
||||
(China (Mainland))










