Product Summary
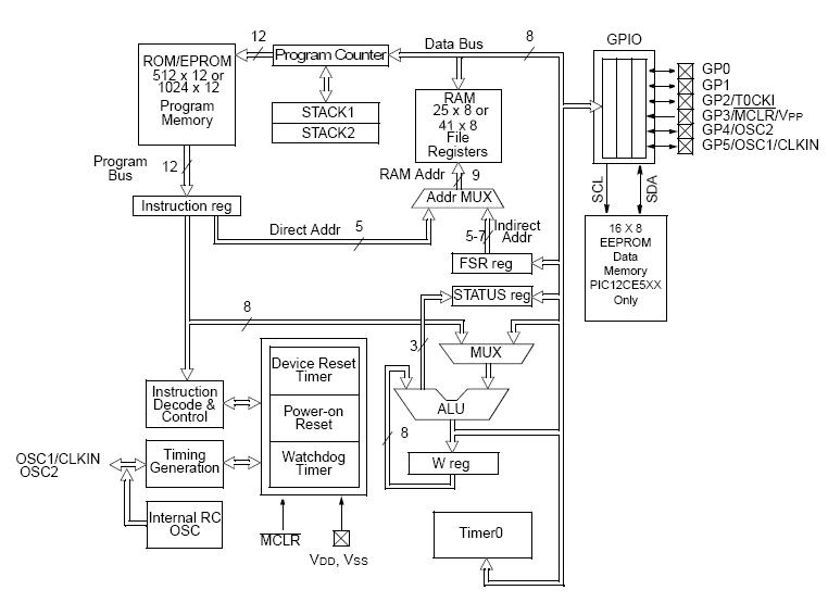
                                                  	The PIC12LCE518-04/P is an 8-Pin, 8-Bit CMOS Microcontroller. It employs a RISC architecture with only 33 single word/single cycle instructions. All instructions are single cycle (1ms) except for program branches which take two cycles. The PIC12LCE518-04/P delivers performance an order of magnitude higher than its competitors in the same price category. The 12-bit wide instructions are highly symmetrical resulting in 2:1 code compression over other 8-bit microcontrollers in its class. The easy to use and easy to remember instruction set reduces development time significantly. The PIC12LCE518-04/P fits perfectly in applications ranging from personal care appliances and security systems to low-power remote transmitters/receivers. The EPROM technology makes customizing application programs (transmitter codes, appliance settings, receiver frequencies, etc.) extremely fast and convenient, while the EEPROM data memory technology allows for the changing of calibration factors and security codes.
                                                  
Parametrics
PIC12LCE518-04/P absolute maximum ratings: (1)Ambient Temperature under bias: –40℃ to +125℃; (2)Storage Temperature: –65℃ to +150℃; (3)Voltage on VDD with respect to VSS: 0 to +7.5 V; (4)Voltage on MCLR with respect to VSS: 0 to +14 V; (5)Voltage on all other pins with respect to VSS: –0.6 V to (VDD + 0.6 V); (6)Total Power Dissipation: 700mW; (7)Max. Current out of VSS pin: 200mA; (8)Max. Current into VDD pin: 150mA; (9)Input Clamp Current, IIK (VI<0 or VI>VDD): ±20mA; (10)Output Clamp Current, IOK (VO<0 or VO>VDD): ±20mA; (11)Max. Output Current sunk by any I/O pin: 25mA; (12)Max. Output Current sourced by any I/O pin: 25mA; (13)Max. Output Current sourced by I/O port (GPIO): 100mA; (14)Max. Output Current sunk by I/O port (GPIO ): 100mA
Features
PIC12LCE518-04/P features: (1)8-bit real time clock/counter (TMR0) with 8-bit programmable prescaler; (2)Power-On Reset (POR); (3)?Device Reset Timer (DRT); (4)Watchdog Timer (WDT) with its own on-chip RC oscillator for reliable operation; (5)Programmable code-protection; (6)1,000,000 erase/write cycle EEPROM data memory; (7)EEPROM data retention>40 years; (8)Power saving SLEEP mode; (9)Wake-up from SLEEP on pin change; (10)Internal weak pull-ups on I/O pins; (11)Internal pull-up on MCLR pin.
Diagrams

| Image | Part No | Mfg | Description | ![]()  | 
                            Pricing (USD)  | 
                            Quantity | ||||||||||||
|---|---|---|---|---|---|---|---|---|---|---|---|---|---|---|---|---|---|---|
![]()  | 
                            ![]() PIC12LCE518-04/P  | 
                            ![]() Microchip Technology  | 
                            ![]() 8-bit Microcontrollers (MCU) .75KB 25 RAM 6 I/O 4 MHz PDIP8  | 
                            ![]() Data Sheet  | 
                            ![]() 
  | 
                            
                            	 | 
                      ||||||||||||
| Image | Part No | Mfg | Description | ![]()  | 
                            Pricing (USD)  | 
                            Quantity | ||||||||||||
![]()  | 
                            ![]() PIC1018SCL  | 
                            ![]() Other  | 
                            ![]()  | 
                            ![]() Data Sheet  | 
                            ![]() Negotiable  | 
                            
                            	 | 
                      ||||||||||||
![]()  | 
                            ![]() PIC10F200  | 
                            ![]() Other  | 
                            ![]()  | 
                            ![]() Data Sheet  | 
                            ![]() Negotiable  | 
                            
                            	 | 
                      ||||||||||||
![]()  | 
                            ![]() PIC10F200-E/MC  | 
                            ![]() Microchip Technology  | 
                            ![]() 8-bit Microcontrollers (MCU) 384B Flash16B RAM 4 I/O  | 
                            ![]() Data Sheet  | 
                            ![]() 
  | 
                            
                            	 | 
                      ||||||||||||
![]()  | 
                            ![]() PIC10F200-E/OT  | 
                            ![]() Other  | 
                            ![]()  | 
                            ![]() Data Sheet  | 
                            ![]() Negotiable  | 
                            
                            	 | 
                      ||||||||||||
![]()  | 
                            ![]() PIC10F200-E/P  | 
                            ![]() Microchip Technology  | 
                            ![]() 8-bit Microcontrollers (MCU) U 579-PIC10F200-I/P  | 
                            ![]() Data Sheet  | 
                            ![]() Negotiable  | 
                            
                            	 | 
                      ||||||||||||
![]()  | 
                            ![]() PIC10F200-I/MC  | 
                            ![]() Microchip Technology  | 
                            ![]() 8-bit Microcontrollers (MCU) 0.375KB Fl 16B RAM  | 
                            ![]() Data Sheet  | 
                            ![]() 
  | 
                            
                            	 | 
                      ||||||||||||
 (China (Mainland)) 
                         
                        
                                    








