Product Summary
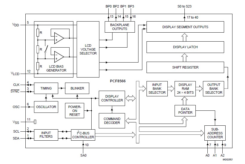
                                                  	The PCF8566T is a universal LCD driver for low multiplex rates having low multiplex rates. The PCF8566T generates the drive signals for any static or multiplexed LCD containing up to four backplanes and up to 24 segments and can easily be cascaded for larger LCD applications. The PCF8566T is compatible with most microprocessors/microcontrollers and communicates via a two-line bidirectional I2C-bus. Communication overheads are minimized by a display RAM with auto-incremented addressing, by hardware subaddressing and by display memory switching (static and duplex drive modes).
                                                  
Parametrics
PCF8566T absolute maximum ratings: (1)VDD supply voltage: -0.5 to +7 V; (2)VLCD LCD supply voltage: VDD -7 to VDD V; (3)VI input voltage (SCL, SDA, A0 to A2, OSC, CLK, SYNC and SA0): VSS - 0.5 to VDD + 0.5 V; (4)VO output voltage (S0 to S23 and BP0 to BP3): VLCD - 0.5 to VDD + 0.5 V; (5)II DC input current: ±20 mA; (6)IO DC output current: ±25 mA; (7)IDD, ISS, ILCD VDD, VSS or VLCD current: ±50 mA; (8)Ptot power dissipation per package: 400 mW; (9)PO power dissipation per output: 100 mW; (10)Tstg storage temperature: -65 to +150 ℃.
Features
PCF8566T features: (1)Single-chip LCD controller/driver; (2)Selectable backplane drive configuration: static or 2, 3 or 4 backplane multiplexing; (3)Selectable display bias configuration: static; (4)Internal LCD bias generation with voltage-follower buffers; (5)24 segment drives: up to twelve 8-segment numeric characters; up to six 15-segment alphanumeric characters; or any graphics of up to 96 elements; (6)Auto-incremented display data loading across device subaddress boundaries; (7)Display memory bank switching in static and duplex drive modes; (8)Versatile blinking modes; (9)LCD and logic supplies may be separated; (10)2.5 to 6 V power supply range; (11)Low power consumption; (12)Power saving mode for extremely low power consumption in battery-operated and telephone applications; (13)I2C-bus interface; (14)TTL/CMOS compatible; (15)Compatible with any 4-bit, 8-bit or 16-bit microprocessors/microcontrollers; (16)May be cascaded for large LCD applications (up to 1536 segments possible); (17)Cascadable with the 40 segment LCD driver PCF8576C; (18)Optimized pinning for single plane wiring in both single and multiple PCF8566 applications; (19)Space-saving 40 lead plastic very small outline package (VSO40; SOT158-1).
Diagrams

| Image | Part No | Mfg | Description | ![]()  | 
                            Pricing (USD)  | 
                            Quantity | ||||||||||||||
|---|---|---|---|---|---|---|---|---|---|---|---|---|---|---|---|---|---|---|---|---|
![]()  | 
                            ![]() PCF8566T/1,112  | 
                            ![]() NXP Semiconductors  | 
                            ![]() LCD Drivers 96 SGMT LCD SGMT DRV  | 
                            ![]() Data Sheet  | 
                            ![]() 
  | 
                            
                            	 | 
                      ||||||||||||||
![]()  | 
                            ![]() PCF8566T/1,118  | 
                            ![]() NXP Semiconductors  | 
                            ![]() LCD Drivers LCD DVR UNVRSL LOW-MUX  | 
                            ![]() Data Sheet  | 
                            ![]() 
  | 
                            
                            	 | 
                      ||||||||||||||
![]()  | 
                            ![]() PCF8566TD  | 
                            ![]() NXP Semiconductors  | 
                            ![]() LCD Drivers 96 SGMT LCD SGMT DRV  | 
                            ![]() Data Sheet  | 
                            ![]() Negotiable  | 
                            
                            	 | 
                      ||||||||||||||
![]()  | 
                            ![]() PCF8566TS/1,112  | 
                            ![]() NXP Semiconductors  | 
                            ![]() LCD Drivers 24 SGMT 315KHz  | 
                            ![]() Data Sheet  | 
                            ![]() 
  | 
                            
                            	 | 
                      ||||||||||||||
![]()  | 
                            ![]() PCF8566TS/1,118  | 
                            ![]() NXP Semiconductors  | 
                            ![]() LCD Drivers 24 SGMT 315KHz  | 
                            ![]() Data Sheet  | 
                            ![]() 
  | 
                            
                            	 | 
                      ||||||||||||||
 (China (Mainland)) 
                         
                        
                                    







